维宏股份晚间公告大资本优配,2025年上半年营业收入2.6亿元,同比增长9.51%。净利润2924.79万元,同比下降28.86%。
举报 相关阅读协鑫能科今日跌停 三机构专用席位净卖出7731.60万元
0 06-20 16:29菜鸟新款无人车启动预售,预售价1.68万元
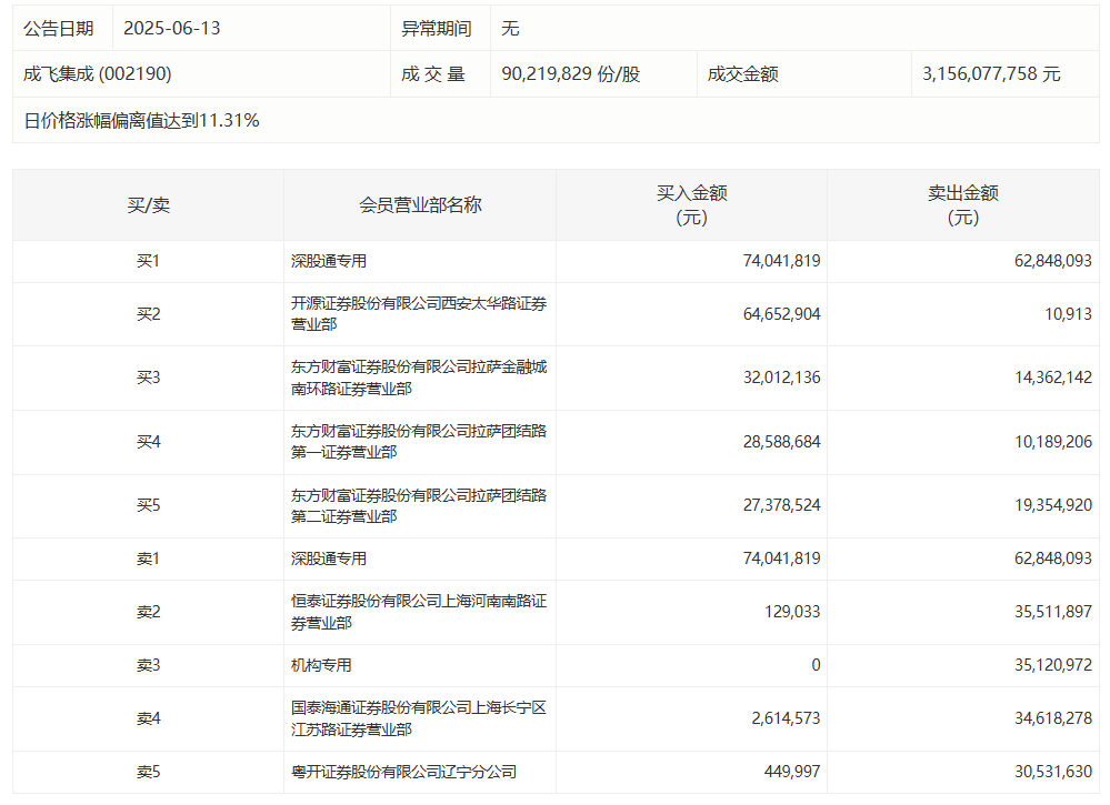
172 06-18 13:34成飞集成今日涨停,深股通专用席位买入7404.18万元并卖出6284.81万元
0 06-13 16:44主力今日尾盘买卖这些个股
0 06-04 15:59三生国健今日涨15.31% 二机构专用席位净买入4447.68万元
0 05-27 16:48 一财最热 点击关闭秦安配资提示:文章来自网络,不代表本站观点。